Schładzalnik do mleka Serap model First SU
Brand
Symbol
Serap model First SU
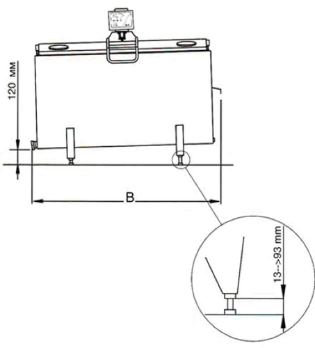
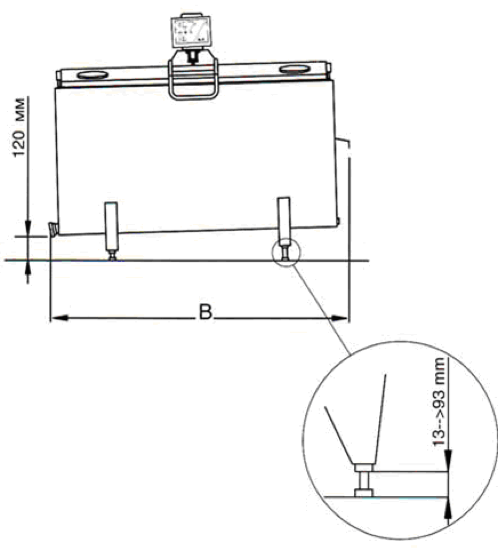
Nowszy model SU schładzarki wannowej wewnątrz wykonany ze stali nierdzewnej. Parownik posiada dużą wydajność. Izolacja z pianki poliuretanowej o wysokiej gęstości i grubości 50 mm. Obudowa ze stali nierdzewnej AISI 304 z 2 otworami do napełniania (Ø 200 mm) z osłonami z tworzywa sztucznego i sprężyny gazowe do łatwego otwierania. Pokrywa zbiornika może być. Istnieje możliwość przełożenia pokrywy tak aby otwierała się na prawą lub lewą stronę w zależności od ustawienia zbiornika w pomieszczeniu. Cztery regulowane nóżki ze stali nierdzewnej. Wylot gwintowany Ø 51 SMS z plastikową pokrywą i łańcucha.
Ask a question
Write your opinion














